刷眼买单你会用吗?腾讯注册微信虹膜支付商标
来源:快科技 编辑:非小米 时间:2023-01-04 12:27人阅读
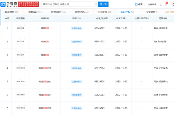
1月4日消息,从企查查获悉,近日,腾讯科技(深圳)有限公司申请注册多枚“微信虹膜支付”“微信虹膜”“微信虹膜识别”商标,国际分类涉及通讯服务、金融物管、网站服务等,当前商标状态均为等待实质审查。
据了解,虹膜是位于人眼表面黑色瞳孔和白色巩膜之间的圆环状区域,具有唯一性、稳定性、非接触性等诸多优势。
虹膜识别技术通过对比虹膜纹理特征之间的相似性,可有效确定人们的身份,是目前世界上最精准、最安全的生物识别技术之一,其准确性和稳定性远超过指纹扫描和人脸识别。
通过虹膜支付,仅需刷眼即可完成支付,十分方便
值得一提的是,此前微信已上线“微信刷掌支付”小程序,而刷掌支付是继密码支付、指纹支付、刷脸支付后,微信的又一新支付方式。
需要支付时,仅需抬起手掌对准识别设备就能轻松支付,真正实现了抬手就能付。
本站所有文章、数据、图片均来自互联网,一切版权均归源网站或源作者所有。
如果侵犯了你的权益请来信告知我们删除。邮箱:business@qudong.com




